折叠屏iPhone缩水升级:护照本造型惊艳亮相,创新体验引期待

71

折叠屏iPhone新曝光:尺寸小巧,造型独特

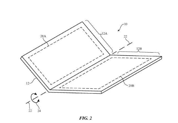
macrumors报道,设计师本·格斯金制作并曝光了传闻中折叠屏iPhone的实体模拟模型。令人意外的是,这款预计明年发布的设备尺寸比多数人预想的更小,手持状态下其造型酷似一本护照。

纵向折叠设计,5.3英寸外屏满足日常需求

从曝光的核心参数来看,这款折叠屏iPhone将采用纵向折叠设计。其外部配备一块5.3英寸的显示屏,足以满足用户快速查看信息、接听电话等日常需求。

展开后7.7英寸主屏,提供更开阔视野

展开后,内部主屏幕尺寸达到7.7英寸,能为影音娱乐和移动办公提供更为开阔的视野。模拟图显示,设备在折叠状态下非常紧凑,相比市面上主流折叠屏机型,可能在便携性上拥有显著优势。

苹果研发超薄柔性玻璃,解决屏幕折痕问题

除了尺寸,屏幕折痕问题的解决进度也备受关注。报告指出,苹果目前正在为内部显示屏测试下一代超薄柔性玻璃,核心目标是让屏幕中间的折痕变得几乎不可见。

苹果折叠屏iPhone有望在用户体验上实现重要突破

折痕一直是困扰折叠屏设备的核心痛点,苹果的这一研发方向,也表明其希望首款折叠屏iPhone能在基础用户体验上实现重要突破。

折叠屏iPhone缩水升级:护照本造型惊艳亮相,创新体验引期待

内存条价格断崖下跌,不少人疯狂抛售却没人接盘

河洛群侠传2有新动态?预告截图+开发进展披露

单依纯道歉!承认演唱会侵权演唱李荣浩《李白》

PS6定价疑似曝光!699美元竟没有想象中那般贵?

开发者子孙后代接力创作的100G3A新游2096年发售

英伟达PC应用程序更新测试版 可在后台自动重新编译着色器

玩家硬核考据生化危机9时间线,里昂的一天究竟有多忙?

守望先锋新英雄首曝!别疑是愚人节,这次真官宣

Capcom联合GOG重制上线,生化危机1-3龙战士4Steam原版

仅需一人即可轻松操控96架!国产无人机蜂群作战系统首次展示

被举报偷税漏税瞒报收入近88% 鞠婧祎方回应税务情况

三上真司加盟剑星工作室 SHIFT UP新作UNBOUND发布

疯传!Faker与知名女团成员约会 网友:感觉不如翡翠回响

Steam后台泄露?女神异闻录4,复兴版定价DLC信息靠谱吗?

最后的生还者新消息引玩家论战,故事已结束该不该继续?